来源:银瑞社
作者:许淑敏
苏州银行最新的一则招标公告,颇有意思。
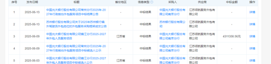
简单看下来,就是2025年苏州银行编外驾驶员外包岗位的外包服务采购框架中标者,已经出现。江苏领航服务外包有限公司以风险金和管理费比例9%的成交比例拿下了这一单。

或许在众多的采购项目当中,这一单招投标金额小,并不引人注意。按照苏州银行此前披露,该招标预算为价格67.2万元。
但瑞财经发现,江苏领航服务不是一家普通的外包公司。
银行外包公司的实力
江苏领航服务,一口气拿下了不少银行外包项目。
不到半个月时间,江苏领航服务除了拿下上述苏州银行的外包服务以外,还接连中标了光大银行两个外包服务项目。其中包括光大银行常州分行2025年-2027年行政前台外包服务项目、光大银行镇江分行2025-2027年外包人员服务项目。

今年3月,江苏领航服务拿下了恒丰银行连云港分行2025年人员外包服务采购项目,4月,其又接连中标光大银行徐州分行2025年度个贷业务外包服务项目、江苏银行南京分行2025-2026年驾驶员外包服务项目。
三个月,江苏领航服务拿了6个银行外包项目。
江苏领航服务与国有大行、股份制银行、城商行皆有合作。
江苏领航服务的客户还包括上海银行南京分行、交通银行江苏省分行、北京银行南京分行、中国银行江苏省分行等。
资料显示,江苏领航服务是通过改制而来的公司。
江苏领航服务 (曾用名:南京领航人才派遣有限公司) 成立于2007年,江苏领航人力资源服务集团成员,位于南京市,注册资本1000万,法定代表人为杨衡,受益所有人为徐苏安。
官网披露,徐苏安,工商管理硕士(MBA),江苏省首批正高级人力资源师,高级经济师,江苏省服务业特别贡献奖获得者,是江苏省人力资源机构唯一获此殊荣的创始人。徐苏安曾经在南京市人社局担任处级干部。
2002年,徐苏安接受南京市人社局安排,成立了经营性人力资源服务公司。公司经过多年发展于2007年完成改制,改制后公司逐步更名为江苏领航人力资源服务集团。
当前,江苏领航人力资源服务集团由徐苏安、邓松海、伍乐成分别持有80%、10%、10%的股份。徐苏安为领航人才集团董事长兼总裁、伍乐成为领航人才集团常务副总裁、邓松海为领航人才集团副总裁。
根据天眼查,领航人才集团旗下的江苏领航服务,对外投资15家公司,包括华龄和平南京智能科技、南京市朝阳加油(气)站管理服务,无锡市朝阳加油(气)站管理服务等等,其中5家已经注销,包括江苏领航物业服务、江苏企迅传媒等,业务曾遍及地产、传媒等领域。
2024年,江苏领航服务参保人数为120人。
银行外包员工的压力
江苏领航服务的创始人有背景、有实力,但忽略了一些细节。
最近,南京住房公积金管理中心一则执法公示引起注意。内容是,江苏领航服务被作出行政决定,原因为未按规定为职工缴存住房公积金,被责令补缴公积金。

作为一家人力资源公司,却未按规定为职工缴存公积金。在江苏领航服务拿下多个银行外包服务项目的情况下,市场担忧影响到服务质量。
银行外包人员虽然与正式员工存在薪酬、待遇方面的差别,但亦享受一定的权益。
本身银行外包人员便面临着较为残酷的市场竞争环境。随着银行业步入调整期,寻求降本增效,不少银行纷纷将减员的指标落在外包员工上面。
像是上述提及的苏州银行,按照工时披露劳务外包情况,2024年,该行劳务外包的工时总数为277.8万小时,而上年为268.9万小时,支付的报酬总额1.23亿元,对比上年为1.2亿元,均有所缩短。

瑞财经粗略统计了邮储银行、建设银行、北京银行等在内的7家商业银行,发现仅有1家银行增加了外包员工数量,其余6家外包员工均为减员的状态,合计减员超千人。

以浦发银行为例,2023年,浦发银行拥有从业人员57017人,服务外包人员3689人,但2024年,浦发银行的从业人员数量56760人,服务外包人员3099人。其中,从业人员减员257人,减员比例0.45%,而服务外包人员减员590人,减员比例15.99%。
郑州银行年报提及,派遣员工从事的岗位主要是综合柜员、大堂经理、凭证扫描、档案录入和司机等辅助性岗位。派遣员工执行该行统一的休假、上岗、培训等管理制度,根据岗位考核结果发放薪酬。该行定期对派遣员工进行考核,按比例择优予以转正。
而2024年,郑州银行派遣员工亦减少24人,仅剩下293人。
中信银行、北京银行、重庆银行劳务派遣员工均略有减少。惟有建设银行,2024年劳务派遣员工增加了250人至3374人。