惊了!精艺股份董事长"老赖"身份被扒,历史被执行金额近8亿

高山流水

登录新浪财经APP 搜索【信披】查看更多考评等级

来源:经鉴

导语:6月25日,精艺股份董事长黄裕辉递交书面辞职报告。此前一天,广东证监局已发出警示函,称黄裕辉多次被人民法院纳入失信被执行人名单,但公司未根据规定如实披露。历史信息显示,黄裕辉4次被列为失信执行人,涉案总额2.43亿元;6次被列为“被执行人”,涉案总额7.94亿元。

6月26日,广东精艺金属股份有限公司(简称:精艺股份)发布公告,称公司董事会于2025年6月25日收到公司董事长黄裕辉先生的书面辞职报告。因个人原因,黄裕辉先生申请辞去公司董事、董事长及董事会战略与投资委员会主任委员、提名委员会委员职务。

截至该公告披露日,黄裕辉间接持有精艺股份股份1657.07万股,为持有公司5%以上股份的股东南通三建控股有限公司的法人、董事长,为公司实际控制人之一。

刻意隐瞒董事长失信事宜

只需翻开精艺股份于6月25日发布的另一份公告,便会发现事情远非看上去那般风平浪静。

根据这份《关于收到广东证监局对公司采取责令改正措施并对黄裕辉等采取出具警示函措施的决定的公告》内容显示,精艺股份实际控制人、董事长黄裕辉被多地人民法院纳入失信被执行人名单。但精艺股份在《第八届董事会第一次会议决议公告》等临时报告及相关定期报告中,均未如实披露黄裕辉上述失信情况。

惊了!精艺股份董事长

广东证监局认为,精艺股份现任董事长黄裕辉被人民法院纳入失信被执行人名单,构成《中华人民共和国公司法》第一百七十八条第一款第五项规定的不得担任公司董事、监事、高级管理人员情形,违反了《上市公司治理准则》(证监会公告[2025]5号)第二十六条的规定。公司及董事会全体成员保证信息披露的内容真实、准确、完整,没有虚假记载,误导性陈述或重大遗漏。

为此,广东证监局决定对精艺股份采取责令改正的监管措施,对黄裕辉、卫国、杨翔瑞采取出具警示函的行政监管措施。

同时,广东证监局让精艺股份在收到本决定书2个交易日内采取有效措施进行整改,更换董事长并如实披露相关信息。

历史被执行金额近8亿元

同花顺信息显示,精艺股份成立于1999年7月28日,2009年9月29日在A股上市,其主营业务为铜加工产业和数字能碳服务。

截止到7月1日,精艺股份的总市值为21.45亿元。2024年和2025年一季度公司实现的营业收入分别为37.54亿元和10.79亿元,同比增长率分别为38.43%和48.58%;实现的归母净利润分别为2770.63万元和772.43万元,同比增长率分别为15.57%和6.69%。利润增长率远远低于营业收入。

精艺股份年报信息显示,黄裕辉自2019年5月起任公司董事长,2015年12月至今任三建控股董事长;2019年4月至今,任江苏南通三建集团股份有限公司(已摘牌)董事长。其中,三建控股为精艺股份的控股股东,持有公司7518.47万股,持股比例为30%。南通三建为三建控股的控股子公司。

黄裕辉、周炳高、施晖三人为精艺股份的共同实际控制人。目前,黄裕辉、三建控股及南通三建等均被失信被执行人,同时被限制高消费,三建控股所持有的精艺股份30%股份均处于质押、冻结状态。

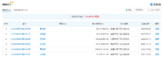
另据天眼查信息显示,黄裕辉为“失信被执行人”的记录有4项,涉案总金额为2.43亿元;“被执行人”记录有6项,涉案总金额7.94亿元;“限制消费令”超过1800项。

惊了!精艺股份董事长

惊了!精艺股份董事长

编辑|木槿

校对|子良

经鉴上市公司研究

惊了!精艺股份董事长

中国企业报荣誉出品

相关推荐:

三肖必中三期必出特,详细说明

新澳发布会最新消息-不被流量驱动

九点半澳门码开奖结果比较研究

新奥四不像新版本消费警告

2025新澳精准正版图库,兑换流程分析

2025澳门特马历史记录_识破炒作话题

新奥20251肖一码-舆情分析参考

2021年澳门今晚开什么特马信息安全提示

新2025奥门兔费资料-警惕自动续费

2025澳门特马今晚开奖一,聊天脚本分析

2025新澳资料免费公开-实用科普

曾道道人论坛网站1339会员——了解退款细节

香港最准100‰一肖中特网——不信超高回报

新奥内部三码精准,关注支付安全

澳门版全年免费大全,识别内容批量生成

文章版权声明:除非注明,否则均为惊了!精艺股份董事长"老赖"身份被扒,历史被执行金额近8亿原创文章,转载或复制请以超链接形式并注明出处。