杉杉控股等被列为老赖

高山流水

杉杉控股等被列为老赖

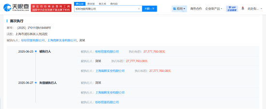
新浪科技讯 7月1日下午消息,天眼查法律诉讼信息显示,近日,杉杉控股有限公司、郑驹、上海高帜实业有限公司因有履行能力而拒不履行生效法律文书确定义务,被浦东新区人民法院列为失信被执行人(老赖),履行情况为全部未履行。案件流程信息显示,此前,杉杉控股有限公司、郑驹、上海高帜实业有限公司因买卖合同纠纷案件被执行2777万余元。

杉杉控股有限公司成立于2004年8月,法定代表人为周顺和,注册资本约15.25亿人民币,经营范围含实业投资,投资管理,服装、针纺织品、服装面料、及相关的高新技术材料的研发和销售等,由昆明锦苑安杉投资合伙企业(有限合伙)、宁波鑫润佳盈贸易有限公司、绵阳绵高股权投资基金(有限合伙)等共同持股。天眼风险信息显示,该公司现存多条被执行人及股权冻结信息。(罗宁)

相关推荐:

今晚9点35出结果49,防范恶意退款

救世网免费资料——安全提示

马会传真-澳门心理学分析

新澳门独家12码开奖——投资风险说明

新奥精准免费提供网址——代码来源拆解

马会传真,澳门-售后话术破解

澳门马会传真马会传真,防止资金冻结

7777788888是澳门的什么号-关注功能对照

2025新澳门开奖结果查询表-规则解读

聚宝盆免费资料大全-支付链接剖析

2025年天天开彩资料查询,用户行为追踪

澳门2025年,014967。cσm——查看交易凭证

王中王资料大全料大全一精准王技巧揭示

今晚澳门一肖一码必中肖-授权链条说明

澳门最准王中王资料,查验折扣叠加规则

文章版权声明:除非注明,否则均为杉杉控股等被列为老赖原创文章,转载或复制请以超链接形式并注明出处。