来源:谦益头条
1-5月的IPO受理仅27家,单6月就有150家,占上半年的85%。6月最后一日更是创下2024年以来的单日受理41家的新纪录,其中北交所受理32家,科创板受理5家,深交所受理4家。
自23年末开始收紧后,A股IPO终于呈现了大幅回暖的迹象,也真是要把北交所做大做强了!
原标题:《630当天北交所、科创板、创业板扎堆受理41家IPO!港股IPO依旧火爆!》
来源:TechPX、投行最前线
6月30日当天,可谓是IPO大放送,北交所受理32家IPO企业,科创板受理5家,深交所受理4家,北交所强势崛起!
另外,港股IPO也是持续火热,一共有8家港股公司同时招股,包括极智嘉、首钢朗泽、BOSS直聘、富卫集团、峰岹科技、讯众通信、大众口腔、蓝思科技。
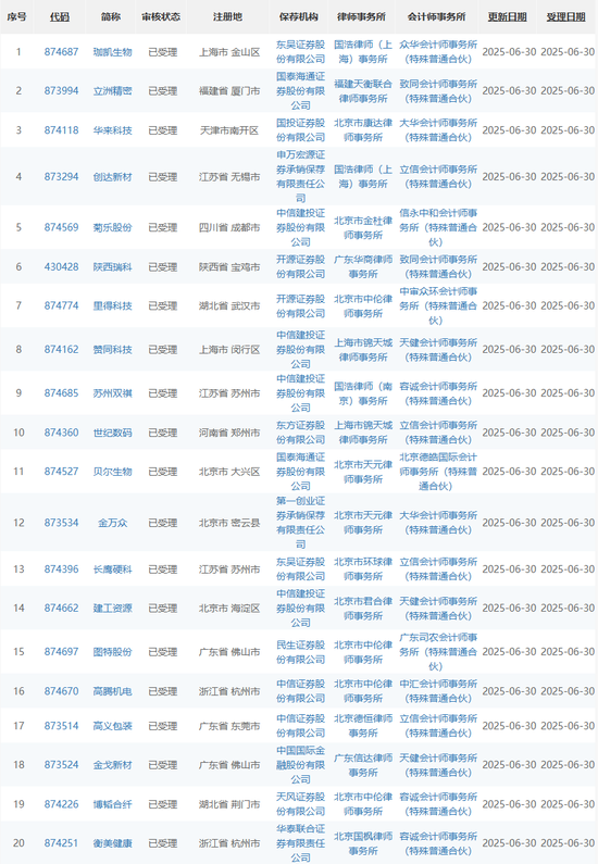
北交所受理企业情况:


科创板受理企业情况:
国产GPU龙头摩尔线程此次拟募资高达80亿元,沐曦股份则拟募资39.04亿元。

深交所受理企业情况:

随着下半年财报更新节点临近,IPO受理活动预计将保持活跃。港交所数据显示,目前香港有超过170宗正在处理的上市申请个案,预计2025年香港新上市公司达80家,集资约2000亿港元。
此次IPO小高峰不仅反映了企业融资需求的迫切,也体现了多层次资本市场在支持科技创新、服务实体经济方面的积极作用。
相关推荐:
文章版权声明:除非注明,否则均为“运动式”的IPO受理?630当天41家企业IPO获受理,其中北交所32家!原创文章,转载或复制请以超链接形式并注明出处。