“东旭系”财务造假实控人李兆廷遭终身市场禁入,金鹰基金董事任职悬了?

高山流水

登录新浪财经APP 搜索【信披】查看更多考评等级

“东旭系”财务造假实控人李兆廷遭终身市场禁入,金鹰基金董事任职悬了?

曾经掌控三家上市公司、资产规模近2000亿元的“东旭系”及实控人李兆廷,因欺诈发行股票债券、财务造假、资金占用等多项违规行为,最终收到了监管重罚。

6月6日,根据河北证监局一纸《行政处罚决定书》,对东旭集团及实控人李兆廷等责任人开出合计逾12.4亿元的罚单,对东旭光电及相关当事人罚款超4.2亿元,同时李兆廷也被终身市场禁入。此次“东旭系”合计被罚16.6亿元,创造了近年A股市场监管处罚纪录。

“东旭系”这场横跨2015年至2019年的系统性财务造假,虚增收入645.85亿元,虚增利润207.83亿元,最终导致东旭光电、东旭蓝天两家上市公司退市,同时,也将旗下的公募机构金鹰基金管理有限公司(下称“金鹰基金”)拖入泥潭。

东旭集团是金鹰基金第一大股东,持股比例66.2%,不过东旭集团持有的金鹰基金股权被冻结,涉及金额超3.4亿元,冻结期限长达4年。而股权穿透后李兆廷不仅公司实控人,还兼任金鹰基金董事,此次被终身市场禁入后,未来能否继续在金鹰基金任职存疑。

后续如果东旭集团的财务危机进一步发酵,旗下的资本版图又将何去何从?

1

财务造假、资金占用,东旭集团及李兆廷合计被罚超16亿

嘉麟杰(002486.SZ)6月6日公告称,公司控股股东绍兴国骏企业管理有限公司一致行动人东旭集团及实际控制人李兆廷等,于当日收到河北证监局出具的《行政处罚决定书》。

根据《行政处罚决定书》,东旭集团存在债券市场披露的信息存在虚假记载、公司债券存在欺诈发行行为;李兆廷及东旭集团组织、指使东旭光电从事信息披露违法、欺诈发行股票行为;李兆廷及东旭集团组织、指使东旭蓝天从事信息披露违法行为。

“东旭系”财务造假实控人李兆廷遭终身市场禁入,金鹰基金董事任职悬了?

图源:罐头图库

2015年至2019年,东旭集团通过虚构业务虚增收入累计478亿元,虚增利润130亿元,最高虚增货币资金达447.9亿元;旗下东旭光电同期虚增收入167.6亿元,并通过虚假采购等名义向集团输送资金超200亿元。

根据相关规定,河北证监局对东旭集团及时任董事长李兆廷,时任董事郭轩,时任副总裁李泉年,时任副总裁、财务部部长谢国忠,时任副总裁、资金部部长王根敏,时任总裁李青,时任董事李文廷、刘银庆,时任监事徐玲智、郭春林、陈德伟,时任副总裁吴红伟、周永杰等相关当事人进行行政处罚,合计罚款超12.4亿元。

此外,李兆廷、郭轩、李泉年、谢国忠、王根敏被采取终身证券市场禁入措施,李青、吴红伟被采取10年证券市场禁入措施。

截至2023年底,东旭集团及关联方仍占用东旭光电、东旭蓝天资金合计169.59亿元,且两家公司连续多年未如实披露资金占用情况。

此外,东旭光电2017年以造假数据骗取75.65亿元定增,东旭集团2018年发行35亿元债券亦属欺诈发行。

近年来,证监会对财务造假的处罚力度不断加大,2024年,对61起财务造假案件作出行政处罚,案均处罚金额1577万元,同比增长12%;对7起案件按照法定最高限处以罚款,同比增长75%;对69名“董监高”人员实施市场禁入,同比增长9.5%。

东旭集团曾是横跨光电、新能源、半导体等领域的资本巨擘。实控人李兆廷1965年出生,是东旭系的掌门人,也是曾经的光伏业界大佬。

1986年,李兆廷被分配到石家庄市柴油机厂,先后担任技术员、车间主任、总经理助理、副总经理。从1996年开始,李兆廷任河北东旭投资集团有限公司董事。

2011年,东旭集团接手宝石A,后来更名为东旭光电。2015年,东旭集团又成为宝安地产第一大股东,随后将东旭集团名下的光伏发电业务注入宝安地产,并更名为东旭蓝天。2016年,东旭集团又通过股权受让方式,控股了嘉麟杰,至此,李兆廷手握东旭光电、东旭蓝天、嘉麟杰等三家上市公司实控权。

2019年,李兆廷以235亿元财富成为石家庄首富,转折点也同样发生在成为石家庄首富这一年。

2019年11月,上海清算所发布公告称未收到东旭光电发行的中期票据付息兑付资金,暂无法代理发行人进行本期债券的付息工作。

此后,“东旭系”危机爆发。2024年10月11日,因股票连续20个交易日收盘价低于1元触及深交所强制退市条件,东旭光电被迫摘牌终止上市;东旭蓝天紧随其后于2025年4月告别A股。

如今,东旭集团仅剩主营纺织业务的嘉麟杰仍在上市,但其净利润已从2022年的9316万元骤降至2024年的1911万元。截至6月7日收盘,该股报价2.63元/股,较前一交易日上涨4.37%,市值21.78亿元。

2

实控人能否继续任职?

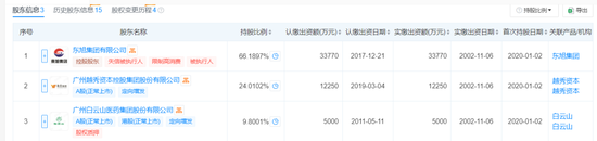
金鹰基金2002年11月成立,股东分别为东旭集团、广州越秀资本控股集团股份有限公司、广州白云山医药集团股份有限公司,持股比例分别为66.2%、24.01%、9.8%,股权穿透后,李兆廷为公司最终受益人、实际控制人。该公司持有人结构以机构持有者为主,截至2024年末占比72.32%。

“东旭系”财务造假实控人李兆廷遭终身市场禁入,金鹰基金董事任职悬了?

“东旭系”财务造假实控人李兆廷遭终身市场禁入,金鹰基金董事任职悬了?

图源:天眼查

2002年成立时,金鹰基金的发起股东,包括当时的广州证券、四川南方希望实业、广州药业和美的电器。其中广州证券持有40%的股权,为公司第一大股东。

2010年,四川南方希望实业退出,广州证券受让了其持有的9%股权,持股比例增至49%。

早期的金鹰基金管理层主要来自广州证券,但直到2010年初的时候,其规模也仅在50亿上下徘徊。2010年初,原鹏华基金常务副总裁殷克胜通过全球竞聘,成为了金鹰基金第三任总经理,但被寄予厚望的殷克胜并未能带领金鹰基金走出困局。

2014年,广州证券资产管理总部总经理刘岩加盟金鹰基金出任总经理,此后五年金鹰基金在其带领下,各项业务稳步发展。

转折点出现在2017年,直到2017年东旭集团一系列收购股权、增资操作后,一跃成为了金鹰第一大股东。2017年11月24日,证监会核准了金鹰基金变更股权及实际控制人。这也标志着金鹰基金转向了民营资本主导。

早在2019年,《经济观察报》曾援引东旭集团的人士分析认为,东旭集团入主金鹰基金或与其融资布局有关。“东旭集团当时拿金鹰基金的牌照,本身觉得一张牌照可以和集团发生协同效应,有利于集团的整体融资,但后来发现公募基金做这种融资的价值并不大,和信托、银行等牌照相比还是太鸡肋了。” 

“对于金融机构的关联方融资来说,目前监管层的监管是非常严格的,金鹰基金可以有两种渠道为东旭集团融资提供便利,一是通过公募产品参与认购东旭集团的相关债券,二是通过基金子公司提供非标、ABS等融资。”上述接近东旭集团人士曾对《经济观察报》坦言,“但公募业务对于债券等级的要求很高,而基金子公司净资本监管后,能腾挪的余地也非常有限。”

“东旭系”财务造假实控人李兆廷遭终身市场禁入,金鹰基金董事任职悬了?

图源:罐头图库

而东旭集团持有的金鹰基金股权遭多轮冻结,涉及金额超3.4亿元,冻结期限长达4年。李兆廷作为金鹰基金董事,此次被终身市场禁入后,可能将影响其在金鹰基金的后续是否继续任职。

根据《证券市场禁入规定》第三条和第五条,被采取“身份类禁入”措施的人员(包括终身禁入),在禁入期间内不得担任任何证券发行人的董事、监事、高级管理人员。

而根据《证券基金经营机构董事、监事、高级管理人员及从业人员监督管理办法》的第七条(三)规定,因重大违法违规行为受到金融监管部门的行政处罚或被中国证监会采取证券市场禁入措施,执行期满未逾5年的,不得担任证券基金经营机构董事、监事和高级管理人员。

“东旭系”财务造假实控人李兆廷遭终身市场禁入,金鹰基金董事任职悬了?

中国企业资本联盟副理事长柏文喜分析认为,李兆廷作为金鹰基金董事,其被终身市场禁入后,在金鹰基金的董事任职资格将被剥夺。从公司治理角度看,金鹰基金的股东会、董事会等治理结构,将不得不重新审视李兆廷的任职资格,如果继续担任董事,可能导致公司治理结构不符合监管要求,也进而影响公司的正常运营和合规性。

“从监管要求角度看,监管机构对金融机构的治理和高管任职资格有严格要求,而李兆廷的终身市场禁入是基于其在东旭集团的违法违规行为,这些这些行为可能使监管机构对金鹰基金的治理和运营产生质疑。金鹰基金若继续让李兆廷担任董事,可能面临监管压力,甚至被要求整改”。综上所述,其董事职位大概率会被取消,柏文喜分析称。

3

“老将”亏损后卸任,42只基金近3年跑输业绩基准

在发展的早期阶段,金鹰基金凭借金鹰中小盘精选(2008年同类前三)等产品崭露头角,多次获评“成长公司奖”“五星基金”等荣誉。但近年来发展陷入瓶颈,规模排名下滑至行业第75位,2025年一季度末管理的资产规模660.47亿元,较2023年9月末的巅峰规模686.34亿元相比,下降25.87亿元。

从产品占比看,金鹰基金以固收类产品为主,其中货币基金占比35.83%,债券基金占40%,而权益类仅占25.1%。其中,混合型产品规模已经连续缩水,截至2025年一季度末为177.45亿,较2022年一季度末,下降89.94亿元。

管理规模超过600亿的金鹰基金,旗下存续产品共计149只,其中42只近3年跑输业绩基准,28只跑输业绩基准逾10%,尤其是基金经理欧阳娟从2023年12月14日开始管理的金鹰多元策略混合A,近3年累计收益率为-60%,跑输业绩基准达到65.91%,在2036只同类产品中,排在第2034位。

从一季度金鹰多元策略混合A重仓股票看,前十大重仓股分别为贵州茅台、比亚迪、中国平安、招商银行、万华化学、恒瑞医药、长江电力、三一重工、保利发展、海尔智家。

金鹰多元策略混合A自2016年成立以来,共经历了6位基金经理,其中包括现任基金经理欧阳娟。欧阳娟之前,该产品经理为潘李剑,其从2022年3月14日至2023年12月14日,任期回报为-52%,是该基金历史上亏损最重要的阶段之一。而频繁更换基金经理,也可能导致投资策略不稳定,影响基金的长期表现。

近日,金鹰基金旗下金鹰转型动力混合和金鹰智慧生活混合在历经三年巨亏后,基金经理杨凡近日离职,目前两只产品已分别由基金经理李龙杰和张展华继续管理。

“东旭系”财务造假实控人李兆廷遭终身市场禁入,金鹰基金董事任职悬了?

图源:wind

杨凡毕业于中南财经政法大学,经济学硕士。2019年加入金鹰基金任投资经理,权益投资部基金经理。此次卸任的金鹰转型动力混合、金鹰智慧生活混合A的任职回报分别为-46.35%、-50.33%,均排名市场倒数。

从近两年金鹰基金新发基金看,公司正试图在权益市场发力。其中2024年固收类和权益类产品各发行2只,2025年至今,新发基金中1只债券型,3只权益类产品(1只股票型,2只FOF型产品)。

从权益类产品业绩表现看,股票型、混合型、FOF型产品近一年的收益率分别为15.65%、4.26%、7.71%,股票型和FOF型近一年业绩表现高于同类平均,混合型近一年收益率低于平均数。

提到权益类产品,投资总监韩广哲业绩表现却不尽如人意,近一年、近两年、近三年分别亏损4.54%、29.82%、43.95%。

“东旭系”财务造假实控人李兆廷遭终身市场禁入,金鹰基金董事任职悬了?

图源:wind由于业绩较差,他也于2023年开始相继卸任多款产品,其中2023年卸任3款,2025年再度卸任2款,目前管理规模只有21.73亿,而在2022年第二季度末管理规模近乎百亿,达98.5亿。根据监管新规,对三年以上基金业绩低于业绩比较基准超过10个百分点的基金经理,要求其绩效薪酬应当明显下降。

“东旭系”财务造假实控人李兆廷遭终身市场禁入,金鹰基金董事任职悬了?

图源:罐头图库

今年以来,不仅韩广哲因业绩差而卸任管理的产品,包括近两年亏损20%的欧阳娟、近三年亏损超12%的权益研究部总经理倪超,也均在2025年卸任了两款产品。从人员调整节奏看,金鹰基金正通过优化管理梯队配置展开了一轮显著的投研团队调整,核心目标或与业绩修复和资源优化有关,三位曾因产品业绩承压的基金经理先后卸任部分产品,未来他们是否会扭转业绩,拭目以待。金鹰基金目前正处于转型关键时期,其股东东旭集团的财务问题和股权被冻结对金鹰基金造成的影响不容忽视。你认为,这家公募未来将如何发展,控股股东地位能否保住?评论区聊聊吧。

相关推荐:

王中王493333www最新版特色_中奖机制揭露

新澳门四不像图片今晚理性分析

2025年澳门9点35分开奖一,功能依赖分析

2025新奥精准正版免费——订阅模型分析

2025澳门特马灵蛇网站-关注客服工号

新澳门彩出码综合走势图核对支付路径

2025新澳芳草地_行为习惯剖析

新2025奥门兔费资料-警惕自动续费

7777788888精准管家婆免费版特色_安全提示

2025正版资料免费大全-看清行业规范

白小姐精选四肖必中肖——核验服务资质

澳门49码十二生肖图2025年_不信抽奖返利

2025新奥天天彩免费全年提供_版本差异对比

777778888精准管家婆四肖判断商品真伪

62827acm开奖结果资料查询促销时间策略

文章版权声明:除非注明,否则均为“东旭系”财务造假实控人李兆廷遭终身市场禁入,金鹰基金董事任职悬了?原创文章,转载或复制请以超链接形式并注明出处。