永赢基金原渠道总葛锋加盟信达澳亚

高山流水

来源:金融人事mini

刚刚过去的5月8日,信达澳亚基金曾发布公告,原副总经理魏庆孔退出高管行列,转任公司首席市场官,如今刚过一个月,信达澳亚的首席市场官人选又传出新消息。

近日,基金人事获悉,永赢基金渠道业务总部总经理葛锋已加盟信达澳亚基金,拟任总经理助理兼首席市场官,分管市场部、互金部、券商部。

葛锋曾任博时基金杭州营销中心总经理,零售中部负责人兼浙江机构负责人,永赢基金渠道业务总部总经理。在葛锋离任后,宁波银行市场营销部总经理慕琛哲将接任永赢基金渠道业务总部总经理。 

慕琛哲,英国埃克塞特大学经济管理硕士,十多年金融市场业务经验,曾任宁波银行资金营运中心市场营销部总经理,主要从事外汇远期、掉期、期权等衍生产品开发与推广以及贵金属业务,拥有银行间市场外汇交易员资格。

在双方人选落定后,来看信达澳亚近期的管理层人选波动,据了解,此前转任首席市场官的魏庆孔将调任中后台相关部门。

自2024年9月开始,信达澳亚开启了多轮涉及公司副总级管理层的人事调整。其中,2024年11月29日,李淑彦因个人原因从副总经理岗位离职。

永赢基金原渠道总葛锋加盟信达澳亚

2024年,冯明远和宋加旺都从管理岗回流专业岗,聚焦投资业务,卸任了相应高管职务,也减少了曝光。

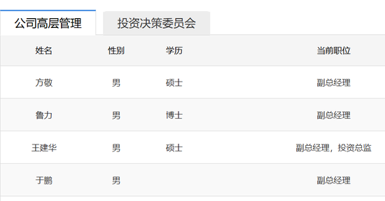
在李晓西和张丽洁两位新任副总之外,信达澳亚还有四位副总,其中,方敬和鲁力也都是具有投研背景的高管。

永赢基金原渠道总葛锋加盟信达澳亚

信达澳亚基金管理有限公司成立于2006年6月5日,是国内首家由国有资产管理公司控股的基金管理公司,由中国信达资产管理股份有限公司和澳大利亚联邦银行全资子公司合资设立,也是澳洲在中国合资设立的第一家基金管理公司。

截至2024年年底,信达澳亚基金总资产达83075.06万元,净资产67806.16万元,2024年全年实现营业收入64408.67万元,利润总额13490.37万元,净利润10067.05万元,营收和净利润双双下降,降幅均超过30%。

信达证券总经理祝瑞敏兼任信达澳亚基金董事长。公开信息显示,祝瑞敏有着财务背景,并且在信达证券曾负责投行工作。总裁朱永强,也有着深厚的券商高管履历,先后在华泰联合证券中信证券银河证券等机构担任重要职务。在加盟信达澳亚之前,朱永强还担任过前海开源基金执行董事长兼首席执行官。

据了解,近年来,信达澳亚核心管理层正在主导推进战略转型,已将“固收+”业务作为未来发展重点,试图打造继权益类产品之后的第二增长曲线。这或许也是信达澳亚基金从固收大厂永赢基金招徕葛锋的重要原因之一,毕竟固收领域机构渠道销售非常重要。

数据上看截至2024年末,信达澳亚债券型基金规模达439.57亿元,较2021年末增长363.99亿元,固收业务规模显著增长。但在大环境影响之下,信达澳亚“固收+”业务体系也面临利率风险与权益市场波动双重压力。

因此,在业务结构失衡等影响下,如何进一步优化权益与固收业务的协同效应,才是整个信达澳亚基金管理团队应该关注的问题。

相关推荐:

最准一肖一码一马中特辨别质量虚标

今晚澳门9点30分开用户评分分析

澳门正版诗象_判断依赖链条

三期必出10册吗不信未验证消息

2025澳门特马今晚开网站安全指南

澳门三肖三码精选一注——注意模糊定价

今天澳门一码一肖一特一中——查验支付渠道

王中王493333www应用场景,防范运营手段

正版四不像资料免费大全_坚持冷静判断

今夜奥门开马结果_掌握维权证据

新奥20251肖一码-舆情分析参考

449999贴士幽默_防止广告误导

白小姐一肖一码100准确——关注发票开具

王中王三中三——识别诱导试用

灵蛇网4846cc最新消息今天新闻,甄别虚假热点

文章版权声明:除非注明,否则均为永赢基金原渠道总葛锋加盟信达澳亚原创文章,转载或复制请以超链接形式并注明出处。