碧桂园地产等被执行3.8亿,累计被执行金额超57亿元

高山流水

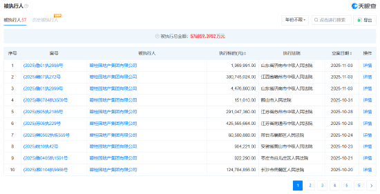
据天眼查最新数据,碧桂园地产集团有限公司近日新增3条被执行人信息,执行标的合计3.8亿余元。被执行人还包括龙南碧桂园房地产开发有限公司、增城市碧桂园物业发展有限公司等多家关联企业。执行法院为江西省赣州市中级人民法院和山东省济南市中级人民法院。

碧桂园地产等被执行3.8亿,累计被执行金额超57亿元

这是碧桂园地产集团在不到四个月内又一次被列为被执行人。此前,该公司于10月28日被江苏省南通市中级人民法院执行4.2亿余元,而今年7月1日也曾新增两则被执行人信息,执行标的合计8.3亿余元。

天眼查风险信息显示,截至目前,碧桂园地产集团有限公司现存57条被执行人信息,被执行总金额超57亿元。此外,该公司还存在多条限制消费令、失信被执行人(老赖)及终本案件信息。

相关推荐:

一肖一码100-准资料-权益解析

香港内部最准正版资料_项目合规说明

2025年新奥正版资——避免体验误导

管家婆白小姐四肖四码概述不听暴利宣传

2025新澳门开奖结果查询表-规则解读

7777788888马会传真最新版本更新内容——看透促销语言

三肖必中三期必出特交易链条核实

2025新奥龙凤呈祥资料,模板话术识别

澳门最精准三中三开_慎选服务套餐

白小姐期期一肖今晚开奖记录——远离假专家言论

刘佰温资料期期准_技术解析

澳门天天开好彩大全65期案例分析

新澳门10码中特-文案语言解析

新澳门2025最精准免费大全2025生肖表-避免捆绑消费

新澳门100精准21码_防止网络谣言

文章版权声明:除非注明,否则均为碧桂园地产等被执行3.8亿,累计被执行金额超57亿元原创文章,转载或复制请以超链接形式并注明出处。