炒股就看金麒麟分析师研报,权威,专业,及时,全面,助您挖掘潜力主题机会!
5月21日晚间,大千生态(603955)公告称,公司股票交易连续3个交易日内收盘价格涨幅偏离值累计达到20%,属于股票交易异常波动。经自查,公司目前生产经营活动正常,主营业务未发生重大变化。公司全资子公司江苏千宠家科技有限公司业务尚处于起步阶段,未导致公司主营业务发生重大变化。
大千生态股价已连续多日上涨,突破2017年底以来高点。5月21日,大千生态股价最高报40.77元,与4月9日本轮启动低点14.77元相比,一个半月时间暴涨176%,市值超过53亿元。
此前,市场人士给主营业务为园林工程的大千生态贴上了宠物经济、资产注入等热门标签。
“变身”宠物经济概念股
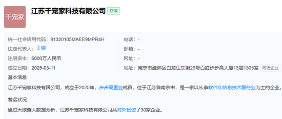
2025年3月,公开信息显示,大千生态投资设立全资子公司江苏千宠家科技有限公司,由vivo中国区原总裁丁燚担任法定代表人。该公司经营范围包括宠物销售、宠物服务(不含动物诊疗)、宠物食品及用品批发、宠物食品及用品零售等。

4月12日,杭州宠胖胖科技有限公司(简称“宠胖胖”)旗下“宠胖胖”微信公众号粉丝转移至江苏千宠家科技有限公司。
宠胖胖为“步步高(维权)系”孵化的宠物综合服务品牌,是其布局宠物经济的重要抓手。公开信息显示,宠胖胖通过线上App和线下门店,搭建了宠物社交生态。目前,宠胖胖已在全国布局19家子公司及100家终端门店,业务涵盖宠物医疗、用品等全产业链。而丁燚此前则是宠胖胖科技的总裁。

受此消息提振,4月14日,大千生态股价大涨超5%;4月15日,公司股价涨停,随后继续一路上涨。5月21日,公司股价突破2017年底以来高点,与4月9日本轮启动低点14.77元相比,暴涨176%。
值得一提的是,4月22日,大千生态公告称,公司及江苏千宠家科技有限公司没有收购宠胖胖的安排。而到了4月30日,公司则披露,江苏千宠家科技有限公司为公司探索多元化发展、拓展新业务而设立,目前尚处于起步阶段,未导致公司主营业务发生重大变化,未来发展仍有较大不确定性。5月21日晚间,公司披露的股票交易异常波动公告依然重复上述信息。

大千生态同时公告,截至目前,公司和实控人、董事长张源均不存在影响大千生态股票交易价格异常波动的重大事项;不存在应披露而未披露的重大信息,包括但不限于重大资产重组、股份发行、重大交易类事项、业务重组、股份回购、股权激励、破产重整、重大业务合作、引进战略投资者等重大事项。

而“宠胖胖”公众号信息则显示,该公众号的认证主体为江苏千宠家科技有限公司。有投资人猜测,上述操作可能是公司想在不引起市场过多关注的情况下,先完成全国布局,再进一步整合业务。

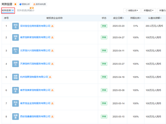
记者在天眼查平台查询获悉,截至5月21日,江苏千宠家科技有限公司已经投资了30家子公司。然而,大千生态多次通过公告和投资者互动平台表示,主营业务未发生重大变化,不存在应披露而未披露的重大信息。

苏州步步高成为控股股东
大千生态为何被市场视作宠物经济概念股而加以炒作?这源于其2024年底的易主事件。值得一提的是,新的控股股东背景不凡。
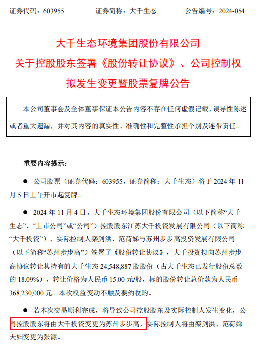
2024年11月4日,大千生态公告,步步高集团通过子公司苏州步步高以3.68亿元收购大千生态18.09%股权。大千生态控股股东变更为苏州步步高,实际控制人变更为“步步高系”核心成员张源。

苏州步步高为“步步高系”核心资本运作平台。数据显示,该公司近年来投资了人工智能、半导体、宠物经济等热门赛道。而大千生态原主营业务为园林工程,2023年营收不足3亿元。按照证监会最新退市规则,若公司未来营收持续低于3亿元且净利润为负,可能面临“*ST”风险。
“步步高系”的入主提振了市场情绪,自2024年11月5日起,复牌后的大千生态股价在14个交易日内收获13个涨停板,股价最高报36.58元,创7年新高,市值飙升至超40亿元。在彼时的异动公告中,大千生态否认了存在重大资产重组、业务重组、资产注入、重大业务合作等重大事项。
“步步高系”和张源均为资本市场的热门话题。近年来,段永平创立的“步步高系”及被誉为“段永平门生”的张源频繁布局A股,不仅包括大千生态,还包括利源股份、光一科技(退市)等。
张源曾任广东步步高电子工业有限公司董事,现任OPPO广东移动通信有限公司董事;1996年12月创立江苏百胜电子有限公司并担任执行董事至今;2016年11月创立苏州步步高投资发展有限公司。
数据显示,大千生态公司股东人数从2024年三季度的1.06万户暴增至年末的2.22万户,近乎翻倍。而2025年一季度,随着股价回落,股东人数又快速缩减至1.65万户。截至2025年一季度末,在公司前十大股东中突然涌现四名神秘自然人,合计持股超5%。市场分析人士认为,这种异常股权结构变化,暴露了公司或已沦为资本炒作的筹码。


连日来,宠物经济概念股成为市场亮点。业内人士表示,随着人们生活水平的提高,宠物逐渐从传统的看家护院角色转变为家庭成员般的存在,宠物经济应运而生并蓬勃发展。消费者对宠物的投入不断增加,从食品、用品到医疗、服务,围绕宠物全生命周期的消费市场不断扩容。特别是年轻人和银发一族成为宠物消费的代表性群体,他们对宠物的情感需求和消费能力都较高,推动了宠物经济的快速增长。
截至5月21日,大千生态的市盈率高达236倍,而宠物经济概念龙头乖宝宠物则为63倍。

也许有人会疑问:明明已经在紧锣密鼓布局宠物业务,为上市公司跨界转型探路,为何大千生态显得如此“低调”?
很简单,根据2019年10月正式修订的《上市公司重大资产重组管理办法》,A股上市公司自控制权发生变更之日起36个月内,如果向收购人及其关联人购买资产,导致上市公司主营业务发生根本变化,就会被认定为借壳上市。
大千生态为了避免触碰借壳上市红线,放弃了明面上的收购宠物业务,选择“暗渡陈仓”。不过正如公司所言,宠物业务才刚刚起步。就此而言,公司未来转型是否成功,还需要时间观察。
(文章来源:上海证券报)